起拍价20.5亿!华润置地深圳公司100%股权被法拍
7月17日,市场消息显示,华润置地(深圳)开发有限公司100%股权在京东法拍平台进行公开拍卖,起拍价约20.49亿元,评估价达29.28亿元。
事涉湖贝未来城项目
南都·湾财社记者注意到,该法拍为首次拍卖,开拍时间为2024年08月1日上午10时,截至7月18日,该拍卖公告已吸引2.4万人围观,139人关注提醒,尚无人报名竞拍。
据广东省深圳市南山区人民法院执行裁定书,此次拍卖系因借款合同纠纷,申请执行人为华润置地控股有限公司,被执行人为深圳市湖贝顺润投资有限公司(以下简称“湖贝顺润”)。拍卖标的物名称为“深圳市湖贝顺润投资有限公司持有的华润置地(深圳)开发有限公司100%股权”。

上述执行裁定书提到,申请执行人华润置地控股有限公司与被执行人湖贝顺润借款合同纠纷执行两案,深圳市南山区人民法院作出的(2022)粤0305民初21582号、(2023)粤0305民初20826号民事判决书已经发生法律效力。因被执行人在规定的期限内没有履行上述生效法律文书确定的义务,申请执行人向本院申请强制执行,本院已立案受理。
记者进一步在天眼查查询到,截至目前湖贝顺润有两条被执行人信息,即为上述两个案件,被执行总金额为4.94亿元。
公开资料显示,华润置地(深圳)开发有限公司成立于2012年3月28日,注册资金50亿元,公司主要从事房地产开发经营。公司由湖贝顺润投全资控股。湖贝顺润由华润置地控股有限公司持股60%;华润深国投信托有限公司持股20%;深圳云祥实业发展有限公司持股20%。
针对上述拍卖公告,记者7月18日向华润置地方面了解情况,但截至发稿尚未取得回复。但据有关媒体报道,本次法拍因湖贝未来城项目公司的合作股东方财务状况出现问题,导致无法履行股东义务,因此采取本次股权拍卖手续以解决项目困境。后续视拍卖情况,如竞价周期内无人出价,华润方会践行央企担当,履行项目建设运营责任。
首批产品已备案近七成
据悉,华润置地(深圳)开发有限公司是深圳罗湖区东门街道湖贝统筹片区城市更新单元的重要申报主体,负责A1、A4、A9等地块的实施。
其中,A4地块占地1.76万㎡,总规划面积28万㎡建筑面积,包括2栋超高层住宅、1栋超高层商务公寓、1栋超高层保障房、1栋写字楼,含5层商业(地上3层地下2层),地下3层车库,2022年10月预售,2023年9月30全部封顶,计划2024年底交付。
A1地块以回迁为主,地上总建筑面积约15万㎡,包含2栋超高层住宅,1栋超高层公寓,地上商业和地下商业,住宅公寓百分之百回迁,商业大部分回迁,少部分可售。2023年11月取得土地合同,预计2026年11月/12月交付,可售部分剩少量商业(含地下商业约1.1万㎡)。
A9地块预计2027年底交付,包括3栋写字楼,总建筑面积约18万㎡,除去回迁房剩余全是办公写字楼,装修以简装为主。
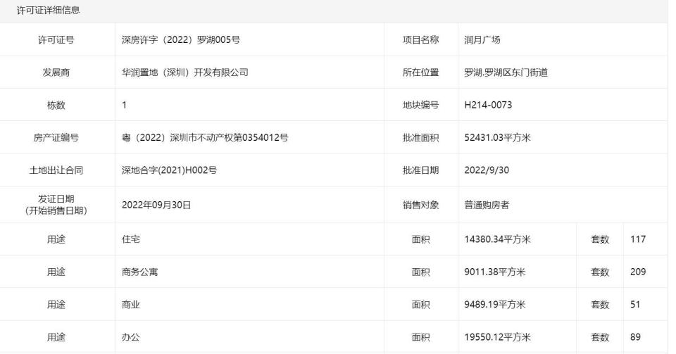
据了解,华润湖贝项目计划打造为建面约220万㎡巨型综合体,集总部商务地标、百万产业集群、湾区文化名片、政府公共配套等多元业态,是华润置地综合体迭代的3.0新作,项目投资约700亿元。目前,华润湖贝未来城(备案名:润月广场)首批产品已于2022年10月获批预售许可,推出住宅、商务公寓、办公等物业合计466套产品。

其中,住宅产品117套,推售建面约83㎡-181㎡单位,备案均价约8.92万元/㎡,单价区间约8.2万元-9.6万元/㎡,总价区间约693万元-1749万元;约35㎡-65㎡商务公寓产品209套,备案均价约5.5万元/㎡,单价区间约4.5万元-7万元/㎡,总价区间约166万元-458万元。据深圳市房地产信息平台显示,截至目前润月广场已备案物业318套,备案进度约为68%。

